| HEC-B6系列 | ||||||||||||||||||||||||||||||||||||||||||||||||||||||||||||||||||||||||||||||||||||||||||||||||||||||||||||||||
| 发布时间:2012/4/23 | 点击次数:1817 | ||||||||||||||||||||||||||||||||||||||||||||||||||||||||||||||||||||||||||||||||||||||||||||||||||||||||||||||||
| |
||||||||||||||||||||||||||||||||||||||||||||||||||||||||||||||||||||||||||||||||||||||||||||||||||||||||||||||||
|
电器特性:
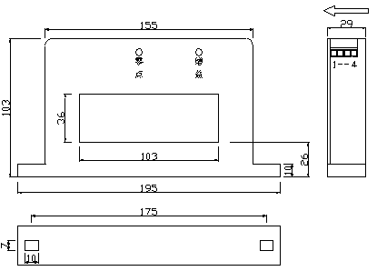
外形结构及安装图: 接线方法: 应用特性: 用于测量直流、交流及脉冲电流,原、副边之间高度绝缘。外壳符合UL94-V0标准。盘式安装。穿孔结构,无插入损耗。 应用领域: 变频器、电源装置、通信电源、UPS电源、电焊机 |
||||||||||||||||||||||||||||||||||||||||||||||||||||||||||||||||||||||||||||||||||||||||||||||||||||||||||||||||
|
||||||||||||||||||||||||||||||||||||||||||||||||||||||||||||||||||||||||||||||||||||||||||||||||||||||||||||||||
|
上一篇: HEC-B5系列 下一篇: HEC-B7系列 |
||||||||||||||||||||||||||||||||||||||||||||||||||||||||||||||||||||||||||||||||||||||||||||||||||||||||||||||||


